Produsele
- Oferte evidentiate. [1535]
- Acéltermékek [1890]
- Adaptoare . [138]
- Comutatoare de curent-sigurante (Releuri Fi) . [5221]
- Interfoane audio/video . [415]
- Accesorii auto . [581]
- Sigurante + suport / soclu sigurante . [7577]
- Coliere de prindere, fixare [2013]
- Sisteme de securitate . [72]
- Mufe . [337]
- Pat cablu si accesorii [7224]
- Sonerii,clopotei,alarme-sirene . [345]
- Csomagológépek [6]
- Csőrendszerek és kiegészítőik [3864]
- Doze - cutii de jonctiune . [2769]
- Prize . [3879]
- Stechere /fise . [1541]
- Incarcatoare/statii de incarcare mașina electrica . [540]
- Mijloace de transport electrice [3]
- Baterii si acumulatoare [659]
- Tablouri , dulapuri, blocuri de distributie [6632]
- Balast . [160]
- Coloana de energie/distribuitor birou si accesorii . [596]
- Module de interfata cu reteaua, Profibus, accesorii [908]
- Ferule, Pini pentru cablu [623]
- Senzori si alarme [3824]
- Inscriptii [816]
- Dulapuri , tablouri metalice si accesorii [21442]
- Sursa de lumina/becuri/tuburi neon . [516]
- Tub luminos [167]
- Stabilizatoare de tensiune . [16]
- Soclu-dulie . [131]
- Carcase dulapuri si spatii pentru masurare consum [2587]
- Aparate-contoare masurare consum [247]
- Solutii pentru lipit [185]
- Convertor de frecventa si startere [4520]
- Bormasina, masini de gaurit,de filetat [2779]
- Solutii pentru incalzire-racire [2459]
- Cabluri si covoare pentru incalzire [817]
- Tuburi flexibile si accesorii [571]
- Tencuieli . [2]
- Startere . [13]
- Hajtástechnika, mozgásvezérlés, robotika [4564]
- Distribuitoare si prelungitoare retea [1481]
- Solutii audio [205]
- Aparate pentru uz casnic [630]
- Invertoare - convertoare de tensiune . [15]
- Comutatoare industriale [34056]
- Ipari PC-k, szoftverek [854]
- Iratmegsemmisítők [80]
- Irodai bútorok [69]
- Lampi indicatoare [3229]
- Ghidaj pentru cablu . [8]
- Cabluri-conductori electrice . [6445]
- Tavi de cablu si accesorii [9043]
- Decoratii de Craciun [3060]
- Accesorii de gradina [235]
- Lanterne, lampi de mana [602]
- Sigurante si accesorii [14657]
- Condensatoare [1211]
- Intrerupatoare uz casnic [21048]
- Corpuri de iluminat [11896]
- Tub neon/flourescent cu led . [489]
- Becuri Led . [4548]
- Perdele cu LED , plase de lumina cu LED [281]
- Corpuri de iluminat cu led [17497]
- Module LED [62]
- Panouri LED si accesorii [2408]
- Profile LED [1089]
- Banda LED [1002]
- Controlor LED [179]
- Accesorii bransament aerian [97]
- Piscine si accesorii [258]
- Echipamente de masurare [1810]
- Senzori de miscare [536]
- Ecipamente protectia muncii [3128]
- Comutatoare de putere pentru trafo / generator /protecție instalare si accesorii [627]
- Panouri solare si accesorii [502]
- Cleme de distributie [79]
- Push buton [11393]
- Butoane normale [1128]
- Butoane luminate [820]
- Butoane de urgenta [255]
- Butoane cu cheie [71]
- Joystickok [270]
- Comutatoare selector [1496]
- Accesorii push-buton [5890]
- Carcase pentru butoane [304]
- Potenciométerek és kiegészítőik [111]
- Egyéb nyomógombok [14]
- Casă inteligentă / Smart Home [2187]
- Stalpuri si accesorii [42]
- Dulap Rack, Cofrete, dulapuri pentru retea, accesorii [2167]
- Releuri [5151]
- Sine de cupru [23]
- Solutii pentru fixare,prindere [2330]
- Papuci, terminale [1689]
- Terminale și conectori de cablu [2993]
- Sport és szabadidő [56]
- Scule [10844]
- Banda adeziva [542]
- Surse neintreruptibila, UPS-uri [721]
- Accesorii telefoane [205]
- Termostate [533]
- Manson prelungire cablu [408]
- Glande ,ghidaj pentru cablu [1365]
- Accesorii TV-Audio [274]
- Transformatoare / Surse de alimentare [1758]
- Protectie la supratensiuni [1458]
- HIDRANTI SUPRATERANI SI SUBTERAN [75]
- Tehnici taiere, slefuire [983]
- Tevi de protectie si accesorii [1353]
- Produse chimice [329]
- Ventilatoare si accesorii [827]
- Cabluri si conductori electrice . [5205]
- Marcaje cabluri electrice [1101]
- Produse, elemente de legat cablu, sarma si accesorii [940]
- Paratrasnete, Accesorii paratrasnete [2143]
- Vonalkódtechnika [20485]
- Tuburi termocontractabile și capace [1278]
- In curs ce incarcare pe site [7550]
- Produse nou incarcate pe site [44453]
Produse de top
Ultimele vizualizate
Recomandari de produse
Partenerii nostri
Detalii produs
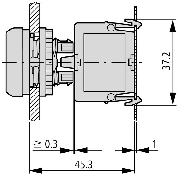
EATON 132671 Nyomógomb, lapos, visszaálló, előlap titán, szürke
-
1000x1000_300dpi
Native%20File
index.html?videoId=6226961215001
index.html?videoId=6181842700001
index.html?videoId=6181843496001
index.html?videoId=6152502683001
01_00004135.pdf
01_00004157.pdf
IL04716002Z2021_07.pdf
drucktaste_flach.dwg
drucktaste_flach.stp
ETN.132671.edz
index.html?videoId=5538462516001
index.html?videoId=5444574908001
eaton-rmq-titan-brochure-br047004en-en-us.pdf
eaton-pushbuttons-signal-towers-sensors-assortment-overview-catalog-ca047003en-en-us.pdf
datasheet.php?model=132671&locale=en_GB
datasheet.php?model=132671&locale=de_DE
datasheet.php?model=132671&locale=hu
-
161,45 RON
-
Gyártó EATONVonalkód / EAN-kód 4015081296095Lyuk átmérő - EF000079 22.5Szín gomb - EF000190 Szürke (Grey)Megfelelő a világításhoz - EF001142 NemParancspozíciók száma - EF001372 1Rugó visszatérítés - EF001407 IgenCímkézett - EF001537 NemGomb típusa - EF001546 Lapos (Flat)Elülső gyűrű színe - EF002429 Titán (Titanium)Védettségi fokozat (IP), elülső oldal - EF003118 IP67/IP69KNyitási szélesség - EF004565 0Magassági nyílás - EF004778 0Védő burkolattal - EF005500 NemElülső gyűrű anyaga - EF005972 Műanyag (Plastic)Elülső félgyűrűvel - EF006014 IgenLencse kialakítás típusa - EF006253 Kerek (Round)Kapcsolás funkció zárójellegű - EF007447 NemVédettségi fokozat (NEMA), elülső oldal - EF011961 4XNumar articol EATON132671

























