Produsele
- Oferte evidentiate. [1535]
- Acéltermékek [1890]
- Adaptoare . [138]
- Comutatoare de curent-sigurante (Releuri Fi) . [5221]
- Interfoane audio/video . [415]
- Accesorii auto . [581]
- Sigurante + suport / soclu sigurante . [7577]
- Coliere de prindere, fixare [2013]
- Sisteme de securitate . [72]
- Mufe . [337]
- Pat cablu si accesorii [7224]
- Sonerii,clopotei,alarme-sirene . [344]
- Csomagológépek [6]
- Csőrendszerek és kiegészítőik [3864]
- Doze - cutii de jonctiune . [2769]
- Prize . [3879]
- Stechere /fise . [1541]
- Incarcatoare/statii de incarcare mașina electrica . [540]
- Mijloace de transport electrice [3]
- Baterii si acumulatoare [659]
- Tablouri , dulapuri, blocuri de distributie [6632]
- Balast . [160]
- Coloana de energie/distribuitor birou si accesorii . [596]
- Module de interfata cu reteaua, Profibus, accesorii [908]
- Ferule, Pini pentru cablu [623]
- Senzori si alarme [3824]
- Inscriptii [816]
- Dulapuri , tablouri metalice si accesorii [21442]
- Sursa de lumina/becuri/tuburi neon . [516]
- Tub luminos [167]
- Stabilizatoare de tensiune . [16]
- Soclu-dulie . [131]
- Carcase dulapuri si spatii pentru masurare consum [2587]
- Aparate-contoare masurare consum [247]
- Solutii pentru lipit [185]
- Convertor de frecventa si startere [4520]
- Bormasina, masini de gaurit,de filetat [2779]
- Solutii pentru incalzire-racire [2459]
- Cabluri si covoare pentru incalzire [817]
- Tuburi flexibile si accesorii [571]
- Tencuieli . [2]
- Startere . [13]
- Hajtástechnika, mozgásvezérlés, robotika [4564]
- Distribuitoare si prelungitoare retea [1481]
- Solutii audio [205]
- Aparate pentru uz casnic [630]
- Invertoare - convertoare de tensiune . [15]
- Comutatoare industriale [34056]
- Ipari PC-k, szoftverek [854]
- Iratmegsemmisítők [80]
- Irodai bútorok [69]
- Lampi indicatoare [3229]
- Ghidaj pentru cablu . [8]
- Cabluri-conductori electrice . [6445]
- Tavi de cablu si accesorii [9043]
- Decoratii de Craciun [3060]
- Accesorii de gradina [235]
- Lanterne, lampi de mana [602]
- Sigurante si accesorii [14657]
- Condensatoare [1211]
- Intrerupatoare uz casnic [21048]
- Corpuri de iluminat [11896]
- Tub neon/flourescent cu led . [489]
- Becuri Led . [4548]
- Perdele cu LED , plase de lumina cu LED [281]
- Corpuri de iluminat cu led [17497]
- Module LED [62]
- Panouri LED si accesorii [2408]
- Profile LED [1089]
- Banda LED [1002]
- Controlor LED [179]
- Accesorii bransament aerian [97]
- Piscine si accesorii [258]
- Echipamente de masurare [1810]
- Senzori de miscare [536]
- Ecipamente protectia muncii [3128]
- Comutatoare de putere pentru trafo / generator /protecție instalare si accesorii [627]
- Panouri solare si accesorii [502]
- Cleme de distributie [79]
- Push buton [11393]
- Casă inteligentă / Smart Home [2187]
- Stalpuri si accesorii [42]
- Dulap Rack, Cofrete, dulapuri pentru retea, accesorii [2167]
- Releuri [5151]
- Sine de cupru [23]
- Solutii pentru fixare,prindere [2330]
- Papuci, terminale [1689]
- Terminale și conectori de cablu [2993]
- Terminale bachelita [8]
- Conectori de cablu cu arc [30]
- Blocuri de terminale cu eliberare rapida [76]
- Conectori de cabluri prin insurubare [11]
- Blocuri terminale flexibile și împărțite [146]
- Terminale cablare principala [358]
- Terminale industriale [7]
- Conectori de cablu KF1 [7]
- Sine si nul [36]
- Terminale montabile pe sine [601]
- Blocuri terminale [49]
- Toldó kapcsok [3]
- Accesorii [536]
- Blocuri terminale montate pe arc WAGO [343]
- Conectori de cablu Wago [180]
- WAGO dugaszolható csatlakozók [380]
- Sport és szabadidő [56]
- Scule [10844]
- Banda adeziva [542]
- Surse neintreruptibila, UPS-uri [721]
- Accesorii telefoane [205]
- Termostate [532]
- Manson prelungire cablu [408]
- Glande ,ghidaj pentru cablu [1365]
- Accesorii TV-Audio [274]
- Transformatoare / Surse de alimentare [1758]
- Protectie la supratensiuni [1458]
- HIDRANTI SUPRATERANI SI SUBTERAN [75]
- Tehnici taiere, slefuire [983]
- Tevi de protectie si accesorii [1353]
- Produse chimice [329]
- Ventilatoare si accesorii [827]
- Cabluri si conductori electrice . [5205]
- Marcaje cabluri electrice [1101]
- Produse, elemente de legat cablu, sarma si accesorii [940]
- Paratrasnete, Accesorii paratrasnete [2143]
- Vonalkódtechnika [20485]
- Tuburi termocontractabile și capace [1278]
- In curs ce incarcare pe site [7550]
- Produse nou incarcate pe site [44463]
Produse de top
Ultimele vizualizate
Recomandari de produse
Partenerii nostri
Detalii produs
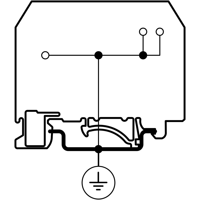
TRACON TSKC2,5/3JDD Védővezető ipari sorozatkapocs, rugós, sínre, zöld/sárga 800V 24A 0.08-2.5 mm2 3P
TRACON TSKC2,5/3JDD általános leírása:
A sorkapcsok és vezeték összekötők az elektromos rendszerekben nélkülözhetetlen elemek, amelyek a különböző elektromos alkatrészek és vezetékek biztonságos és hatékony összekapcsolását szolgálják.
Mi a sorkapocs?
A sorkapocs egy szigetelő anyagba ágyazott fém sín, amelybe a vezetékeket csatlakoztathatjuk. A vezetékek végét általában lecsupaszítjuk, majd a sorkapocs megfelelő nyílásába helyezzük és rögzítjük, például csavarral vagy rugós mechanizmussal.
A sorkapcsok típusai és jellemzői
* Anyag: A sorkapcsok általában műanyagból készülnek, de léteznek fém, kerámia vagy egyéb anyagból készült változatok is.
* Sorkapoc típusok:
* Csavaros sorkapcsok: A leggyakoribb típus, ahol a vezetékeket csavarral rögzítik.
* Rugós sorkapcsok: A vezetékeket rugós mechanizmus fogja meg, ami gyors és egyszerű csatlakozást tesz lehetővé.
* Nyomógombos sorkapcsok: A vezetékeket egy gomb megnyomásával lehet behelyezni és eltávolítani.
* Sorkapcsok száma: Egy sorkapocsban több párhuzamos csatlakozópont is lehet, így több vezetéket is összekapcsolhatunk egy ponton.
* Szigetelés: A sorkapcsok kiváló szigeteléssel rendelkeznek, hogy megakadályozzák a rövidzárlatot és az áramütést.
* Áram és feszültség névleges érték: Minden sorkapocsnak van egy meghatározott áram- és feszültség-névleges értéke, amelyet nem szabad túllépni.
A vezeték összekötők szerepe
A vezeték összekötők a sorkapcsokon túlmenően más típusú elektromos csatlakozások kialakítását is lehetővé teszik. Ilyenek például a dugaszolható csatlakozók, a gyorskötő elemek vagy a különböző típusú kábelcsatlakozók.
A sorkapcsok és vezeték összekötők előnyei
* Biztonságos csatlakozás: A megfelelően kiválasztott és beszerelt sorkapcsok és vezeték összekötők biztosítják a biztonságos és megbízható elektromos kapcsolatot.
* Könnyű szerelés: A legtöbb sorkapocs és vezeték összekötő egyszerűen és gyorsan beszerelhető.
* Sokoldalúság: Széles választékban kaphatók, így szinte minden elektromos alkalmazáshoz megtalálható a megfelelő típus.
* Moduláris felépítés: A sorkapcsok gyakran moduláris felépítésűek, így könnyen bővíthetők és átalakíthatók.
Ki találta fel a sorkapcsot?
A sorkapocs pontos eredete nem ismert, mivel az elektromos csatlakozásoknak számos ősi formája létezett. Azonban a modern, szigetelt és szabványosított sorkapcsok kifejlesztése a 19. század végére tehető, és számos feltaláló és gyártó hozzájárult a mai formájuk kialakításához.
Összefoglalás
A sorkapcsok és vezeték összekötők nélkülözhetetlen elemei az elektromos rendszereknek. Biztosítják a különböző elektromos alkatrészek és vezetékek biztonságos és hatékony összekapcsolását. A megfelelő kiválasztás és beszerelés kulcsfontosságú a biztonságos és megbízható működéshez.
Ha szeretne többet megtudni a sorkapcsokról vagy más elektromos alkatrészekről, ne habozzon kérdezni!
További kérdések, amelyek segíthetnek a megfelelő információ megtalálásában:
* Milyen típusú sorkapocsra van szükséged? (pl. csavaros, rugós, nagy áramú)
* Milyen anyagból készült vezetékeket szeretnél összekötni?
* Milyen környezetben fogod használni a sorkapcsot?
* Milyen feszültség és áram mellett fog működni az eszköz.
További információért keressen minket bizalommal: info@gazdafielectronic.hu
-
6,1 RON
-
6,45 RON
-
Gyártó TRACONÁramerősség 24AEnergiaosztály 2023- -Gyártói cikkszám TSKC2,5/3JDDLezárólemez szükséges IgenKapocshelyek száma 32. csatlakozási mód típusa rugószorításos1. csatlakozási mód típusa rugószorításosCsatlakoztatható vezeték-keresztmetszet (többerű) 0 -0 mm²Csatlakoztatható vezeték-keresztmetszet (tömör) 0,2 -4 mm²Csatlakoztatható vezeték-keresztmetszet (finomszálas) érvéghüvellyel 0 -0 mm²Csatlakoztatható vezeték-keresztmetszet (finomszálas) érvéghüvely nélkül 0,2 -2,5 mm²Magasság 41 mmMélység 50,5 mmPólusok száma 3Súly 0.01140Szélesség 5 mmSzerelési mód DIN (kalap)sín 35 mmSzín zöld-sárgaÜzemi hőmérséklet -30 -90 °CVonalkód / EAN-kód 5997374207713Letölthető tartalom - Katalógus oldal Letölthető tartalom - CE - Nyilatkozat Gyártó TRACONNumar articol TRACONTSKC2-5-3JDD


























